24小时服务热线:19103801095
NEWS CENTER
Recommend case
contact us
舟山市第一类医疗器械产品备案流程和要求

一、第一类医疗器械产品备案申请条件:
1、办理第一类医疗器械产品备案或备案变更的企业;
2、企业已向浙江省食品药品监督管理局办理“企业身份识别系统”。
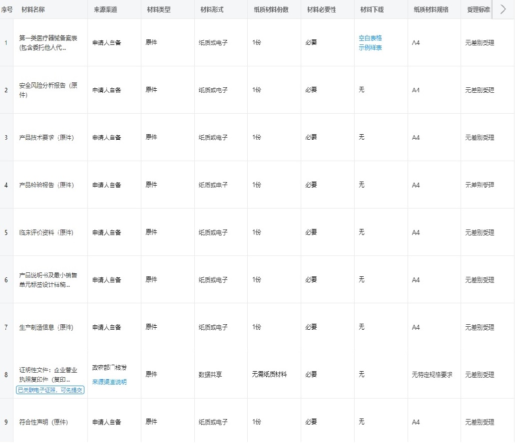
二、第一类医疗器械产品备案申请材料及要求:
申请材料及要求如下图:

三、舟山市第一类医疗器械产品备案流程:

任何事项,欢迎您随时方便与北京飞速度医疗科技有限公司联系。
站点声明:
本网站所提供的信息仅供参考之用,并不代表本网赞同其观点,也不代表本网对其真实性负责。图片版权归原作者所有,如有侵权请联系我们,我们立刻删除。如有关于作品内容、版权或其它问题请于作品发表后的30日内与本站联系,本网将迅速给您回应并做相关处理。
北京飞速度医疗科技有限公司专注于医疗器械、诊断试剂产品政策与法规规事务服务,提供产品注册申报代理、临床合同(CRO)研究、产品研发、GMP质量辅导等方面的技术外包服务。