24小时服务热线:19103801095
NEWS CENTER
Recommend case
contact us
引言:《医疗器械生产监督管理办法》的规定,开办第二类、第三类医疗器械生产企业的,应当向所在地省、自治区、直辖市药品监督管理部门申请生产许可,第一类医疗器械生产企业办理备案。在此为大家讲解三类医疗器械产品注册流程和要求。

三类医疗器械产品注册向哪里申报:
国家规定,三类医疗器械注册由国家局受理和审批;二类医疗器械由各省药监局受理并审批。
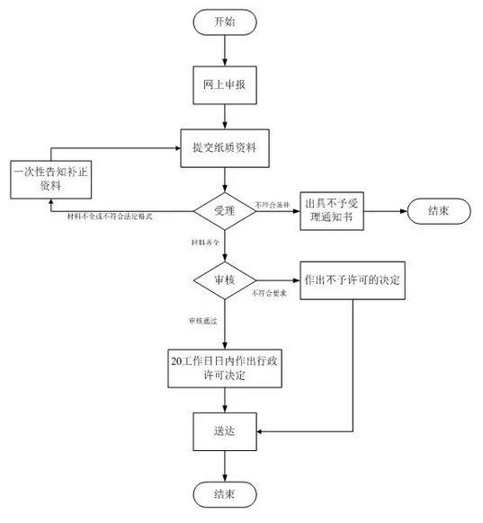
三类医疗器械产品注册一般流程:
三类医疗器械产品注册流程如下:

三类医疗器械产品注册申报资料:
(一)《医疗器械生产企业开办申请表》(原件)(包含委托书及被委托人身份证复印件, 以及申请材料真实性的保证声明)。
(二)营业执照复印件。
(三)申请企业持有的所生产医疗器械注册证及产品技术要求复印件。
(四)法定代表人、企业负责人身份证明复印件;企业负责人任命文件的复印件;生产管理、质量检验岗位从业人员学历、职称一览表。
(五)生产、质量和技术部门负责人的身份、学历、职称证明和工作简历(复印件)。
(六)拟生产产品范围、品种和相关产品简介(产品简介至少包括对产品的结构组成、原理、预期用途的说明及产品标准)。
(七)生产场地的证明文件,有特殊生产环境要求的还应当提交设施、环境的证明文件复印件;一般包含房屋产权证明或租赁协议及出租方房产证明复印件、厂区总平面图、主要生产车间平面图。
(八)主要生产设备和检验仪器清单(原件)。
(九)质量手册和程序文件(原件)。
(十)工艺流程图(原件)。
(十一)生产企业自查表(原件)。
(十二)其他证明资料。
注:其他依据各地药监局的具体规定准备。
首次办理三类医疗器械产品注册证的朋友,还需要办理一个三类医疗器械生产许可证才能生产和销售自己医疗器械。
三类医疗器械生产许可证图示:

北京飞速度医疗科技有限公司是医疗器械专业服务第三方。为广大客户提供医疗器械法律法规、经营开办、医疗器械生产质量管理体系、医疗器械注册、临床、CRC、CE/FDA认证、医疗信息系统定制开发一站式服务。任何有关医疗器械注册、医疗器械经营许可/备案、医疗器械临床试验、CRC服务事宜,随时方便联系邓先生(MP:18060130531,微信同)。
站点声明:
本网站所提供的信息仅供参考之用,并不代表本网赞同其观点,也不代表本网对其真实性负责。图片版权归原作者所有,如有侵权请联系我们,我们立刻删除。如有关于作品内容、版权或其它问题请于作品发表后的30日内与本站联系,本网将迅速给您回应并做相关处理。
北京飞速度医疗科技有限公司专注于医疗器械、诊断试剂产品政策与法规规事务服务,提供产品注册申报代理、临床合同(CRO)研究、产品研发、GMP质量辅导等方面的技术外包服务。