24小时服务热线:19103801095
NEWS CENTER
Recommend case
contact us
我们知道医疗器械注册产品的省委相容性评价,很大程度上取决于产品与人体的接触部分、接触方式和接触时间。对于用于非慢性创面敷料类注册产品(属于第二类医疗器械注册产品),生物相容性评价中接触时间应该按照单次使用时间还是累计使用时间评价?一起看正文。

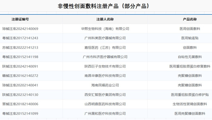
非慢性创面敷料类注册产品生物相容性评价中接触时间如何确定?
依据《GB/T 16886.1-2022 医疗器械生物学评价 第一部分:风险管理过程中的评价与试验》内容,其生物相容性评价中接触时间应按照累计使用时间进行评价。且生物学评价中接触时间应与企业声称使用时间相匹配。
非慢性创面敷料类注册产品或是其他辅料类产品,生物相容性评价中接触时间应按照累计使用时间。
如有非慢性创面敷料注册代理服务需求,欢迎您随时方便与北京飞速度医疗科技有限公司联络,联系人:施先生,电话:19103801095,微信同。
站点声明:
本网站所提供的信息仅供参考之用,并不代表本网赞同其观点,也不代表本网对其真实性负责。图片版权归原作者所有,如有侵权请联系我们,我们立刻删除。如有关于作品内容、版权或其它问题请于作品发表后的30日内与本站联系,本网将迅速给您回应并做相关处理。
北京飞速度医疗科技有限公司专注于医疗器械、诊断试剂产品政策与法规规事务服务,提供产品注册申报代理、临床合同(CRO)研究、产品研发、GMP质量辅导等方面的技术外包服务。