24小时服务热线:19103801095
NEWS CENTER
Recommend case
contact us
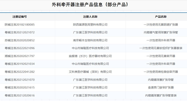
常见的牵开器产品包括:可调式牵开器、微创牵开器、会阴牵开器、上颌窦牵开器、环形牵开器、钳式牵开器、泪囊牵开器、一次性使用无菌牵开器等等,这么多细分的牵开器产品,是申请医疗器械备案证,还是办理医疗器械注册证呢?这是个问题。

牵开器是办理医疗器械备案还是医疗器械注册?
依据《医疗器械监督管理条例》和《医疗器械注册与备案管理办法》,我国对医疗器械实行分类管理制度,对于第一类医疗器械生产实行医疗器械备案制度,对于第二类医疗器械、第三类医疗器械生产实行医疗器械注册制,企业需要办理医疗器械注册证和医疗器械生产许可证方可准入。

通常非无菌提供的牵开器按照第一类医疗器械备案管理,企业需要办理第一类医疗器械产品备案及第一类医疗器械生产备案(也不要忘了建立医疗器械质量管理体系);无菌提供的牵开器按照第二类医疗器械注册管理,企业需要办理医疗器械注册证和医疗器械生产许可证。
如有第一类医疗器械备案或是医疗器械注册咨询服务需求,欢迎您随时方便与北京飞速度医疗科技有限公司联络,联系人:施先生,电话:19103801095,微信同。
站点声明:
本网站所提供的信息仅供参考之用,并不代表本网赞同其观点,也不代表本网对其真实性负责。图片版权归原作者所有,如有侵权请联系我们,我们立刻删除。如有关于作品内容、版权或其它问题请于作品发表后的30日内与本站联系,本网将迅速给您回应并做相关处理。
北京飞速度医疗科技有限公司专注于医疗器械、诊断试剂产品政策与法规规事务服务,提供产品注册申报代理、临床合同(CRO)研究、产品研发、GMP质量辅导等方面的技术外包服务。