24小时服务热线:19103801095
NEWS CENTER
Recommend case
contact us
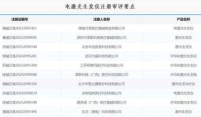
适用于促进雄性激素源性脱发患者头发生长的电激光生发仪,在我国属于第二类医疗器械注册产品,电激光生发仪由生发帽、655nm 激光管、USB 电源线组成。本文为大家介绍电激光生发仪注册审评要点,一起看正文。

电激光生发仪注册审评要点
(一)电激光生发仪工作原理:
电激光生发仪通过激光头发出 655nm 波长的可见光进行照射,用于促进头发生长。
(二)材料:符合生物学评价的要求。
(三)电气安全:符合 GB 9706.1-2020 、YY 9706.111-2021、GB 7247.1-2012 的要求。
(四)电磁兼容:符合 YY 9706.102-2021 的相关要求。
(五)电激光生发仪临床评价:
该产品依照《医疗器械临床评价技术指导原则》,与同品种器械在适用范围、技术特征、 生物学特性等方面相似。通过搜集同类产品的临床数据,证明该类产品在临床使用中的安全有效。
如有电激光生发仪注册或是其它医疗器械注册咨询服务需求,欢迎您随时方便与北京飞速度医疗科技有限公司联络,联系人:吕工,电话:19103801095,微信同。
站点声明:
本网站所提供的信息仅供参考之用,并不代表本网赞同其观点,也不代表本网对其真实性负责。图片版权归原作者所有,如有侵权请联系我们,我们立刻删除。如有关于作品内容、版权或其它问题请于作品发表后的30日内与本站联系,本网将迅速给您回应并做相关处理。
北京飞速度医疗科技有限公司专注于医疗器械、诊断试剂产品政策与法规规事务服务,提供产品注册申报代理、临床合同(CRO)研究、产品研发、GMP质量辅导等方面的技术外包服务。
上一篇:一次性使用肛肠吻合器注册审评要点
下一篇:皮肤镜图像处理工作站注册审评要点